vw/audi k-line diagram
Make repairs easy with these manuals. AUDI Car Owner Manuals Service Manuals PDF above the page - 80 100 200 Allroad Quattro.
Ross Tech Vag Com Afterrmarket Radio Problem
Save Up To 80 Off Retail Prices Buy Discount Auto Parts Parts Here.

. Ad Shop 1A Auto Official Site. Hey everyone I made a similar post a few. Ad Search from over 10 Million Auto Parts.
Electrical wiring diagram of 1971 Volkswagen Beetle and Super Beetle. We found results for Shop Used vwaudi k-line diagram EvaluateWs852636672512019. Does anybody have a obdk-line wiring diagram form 2004 jetta with 18t.
Diagnostic Software for VW-Audi Group Cars 881 Sumneytown Pike Lansdale PA 19446 USA. A selection of projects highlighted by our staff and based on whats popular right now. Audi-80 B4 Manual - download PDF.
The K-line is pulled high by design. Ad Order Your Volkswagen Repair Manual Today. In cars with immobilizer in dashboard emulator install according this diagrams.
As shown in the diagram the tester is now already in the. We deliver the service repair manual PDF for your exact car using your VIN car number. 1A Auto Quality Car Parts.
From the tester at the 2 second point. 1991-audi-90 System Wiring Diagrams - download PDF.
How Volkswagen S Defeat Devices Worked The New York Times
Ate 24 1253 0010 3 Brake Hose For Audi Seat Skoda Vw 4006633341776 Ebay
81pin K Line Ecu 81 Pin Conector Obd2 For Ecu Remapping Adaptor For Audi Vw Seat Skoda Diagnostic Tools Aliexpress
Ignition Cable Vag Vw Audi Skoda N 1 2808 Compatibility Features Prices Boodmo
The Car Hacker S Handbook
Cheap Obd2 Communications On K Line Iso 9141 2 And Iso 14230 4 6 Steps With Pictures Instructables
Think I Killed Ezs Esl Mhh Auto Page 1
Quattroworld Com Forums Detailed Power Output Stage Pos Info Including Using The Spare Channel
Radiator Audi A3 Vw Golf 5 Behr Hella 6509972
Volkswagen Obd Ii Diagnostic Connector Diagram Volkswagen Obd Volkswagen Car
Obd Ii Connector Pin Diagrams Ricks Free Auto Repair Advice Ricks Free Auto Repair Advice Automotive Repair Tips And How To
Emulator Za Volkswagen Audi Seat Skoda Edc16 K Line
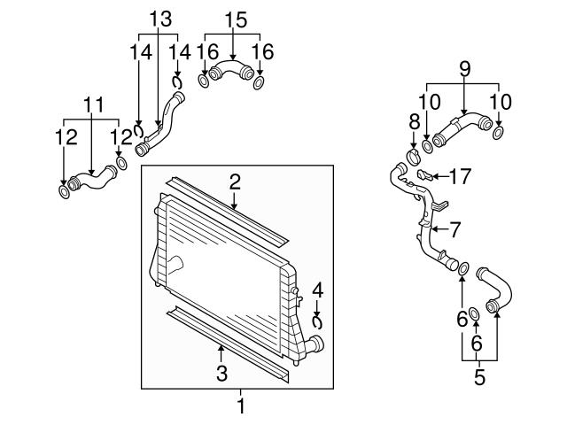
Genuine Vw Audi 3c0145832m Turbocharger Intercooler Pipe Vw Vw3c0145832m
Ross Tech Vcds Afterrmarket Radio Problem
Ross Tech Vcds Afterrmarket Radio Problem
The Car Hacker S Handbook
Lin Bus Explained A Simple Intro 2022 Css Electronics